快得像闪电:从踩刹车到夹紧车轮遏制动弹,只需要75至100毫秒。告急环境下能多争取贵重的平安时间,让您正在碰到突发情况时更有底气。系统能快速调整间隙(仅需8%动弹行程),制动系统一直活络靠得住。就像给制动系统拆了个“从动校准器”,避免“踩空”或“过紧”的问题,日常开车更。
京西智行的球盘式EMB就像给汽车制动系统拆上了“最强大脑”,让刹车更快、更准、更伶俐。该系统规划于2026年岁尾正在国内率先投入量产。跟着电动车和从动驾驶越来越普及,这种手艺可能会成为将来汽车的“标配”,让我们的出行更平安、更高效、更环保。

京西智行已将非线性球盘EMB做成了“万能选手”——整合ABS、ESC、TCS、ACC等全数制动系统功能,矫捷适配分歧车型的需求,实现更快的响应速度,更小的传动比,更低转速的电机,更好的NVH表示,又能支撑L3级以上的从动驾驶。

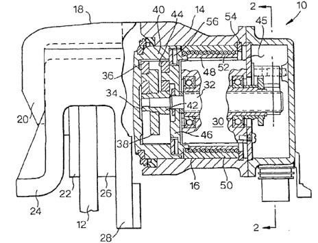
】现正在汽车的制动系统正正在履历一场大变化,从液动迈向更先辈的全线节制动系统。这场变化中,京西智行的一项独家立异手艺——球盘式电子机械制动系统(EMB),即将改变我们的出行平安。

以前汽车的制动系统靠液压油传送力量,就像根管子毗连制动踏板和车轮,踩下去后液压油鞭策刹车片夹紧车轮。但这种设想反映较慢、节制不敷精准,还容易漏油。出格是现正在电动汽车越来越多,需要更快速、更智能的制动系统来婚配从动驾驶等高科技功能。
省电又沉着:长时间制动时连结夹紧力所需的电流需求极低,也不容易过热。这意味着能耗更低、更长行驶里程。
凭仗40余年的卡钳制动系统经验、30余年的线节制动系统经验,京西智行完全丢弃液压油管、改用电子信号间接节制车轮制动,叠加算法堆集,研发了非线性球盘式EMB,已具有EMB焦点专利数十项。
这“五大超能力”将为车企和用户带来实实正在正在的“四大益处”:卸车时“即插即用”的电子接口,不消再灌刹车油、排空气,省时省力;没有液压管,底盘更紧凑,设想师能腾出空间拆更大的电池或更舒服的座椅;刹车片不“粘”车轮,削减摩擦损耗,间接降低电耗;节制软件还能和转向、吊挂系统“对话”,正在从动刹车时调整车身姿势,让车更稳,将来升级也更矫捷。
联系人:郭经理
手机:18132326655
电话:0310-6566620
邮箱:441520902@qq.com
地址: 河北省邯郸市大名府路京府工业城